Os transformadores de distribuição trifásico são utilizados em locais dentro e/ou próximos dos centros de maior consumo de energia elétrica, devido à maior demanda dos consumidores residenciais ou comerciais.
As características dos transfomadores 3Ø da MCT Transformadores são:
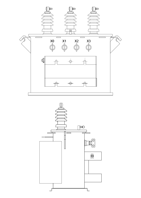
O arranjo dos componentes e dimensional destes equipamentos seguem a padronização da NBR-5440 em sua versão vigente, entretanto na tabela abaixo podem ser obtidas as dimensões externas / arranjo geral e massa para estes tipos de transformadores:
| Classe de Tensão 15 kV | Classe de Tensão 24,2 kV | Classe de Tensão 36,2 kV | ||||||||||
|---|---|---|---|---|---|---|---|---|---|---|---|---|
| Potência | Dimensões (mm) | Massa | Dimensões (mm) | Massa | Dimensões (mm) | Massa | ||||||
| kVA | A | B | C | (kg) | A | B | C | (kg) | A | B | C | (kg) |
| 15 | 900 | 500 | 870 | 190 | 1170 | 650 | 1000 | 250 | 1350 | 800 | 1050 | 300 |
| 30 | 900 | 550 | 890 | 220 | 1170 | 650 | 1100 | 280 | 1350 | 800 | 1200 | 330 |
| 45 | 950 | 605 | 1030 | 295 | 1240 | 700 | 1210 | 390 | 1400 | 820 | 1300 | 450 |
| 75 | 1010 | 725 | 1260 | 425 | 1320 | 800 | 1300 | 550 | 1500 | 830 | 1320 | 650 |
| 112,5 | 1010 | 730 | 1200 | 650 | 1320 | 850 | 1350 | 750 | 1550 | 920 | 1400 | 870 |
| 150 | 1040 | 920 | 1270 | 689 | 1360 | 920 | 1400 | 840 | 1600 | 950 | 1450 | 990 |
| 225 | 1195 | 970 | 1515 | 900 | 1380 | 960 | 1560 | 995 | 1700 | 990 | 1600 | 1210 |
| 300 | 1280 | 980 | 1540 | 1080 | 1660 | 980 | 1550 | 1400 | 1780 | 1000 | 1580 | 1430 |